
Ford propone también un paquete de baterías que pueda ir sobre el techo
Muchas veces hemos hablado de la problemática en torno a los eléctricos cuando se alejan de los entornos urbanos y, por ende, de la infraestructura de recarga. Las autonomías actualmente siguen siendo bastante limitadas y algunos usuarios todavía no se atreven a dar el paso por dicho motivo. Sin embargo, los fabricantes siguen buscando soluciones para facilitarles la vida con coches más capaces o novedades a nivel técnico. Ahora Ford apuesta por un paquete de baterías sobre el techo del vehículo para salir de los apuros en situaciones de emergencia.
En los últimos tiempos estamos viendo como la marca del rayo sigue apostando por la movilidad eléctrica y también por los ejemplares todoterreno. En el primer grupo, hay modelos llamativos como el Mustang Mach-E, el F-150 Lightning o el próximo Explorer. En el segundo grupo, ilusiona que lleguen a Europa vehículos como el Bronco. Uniendo ambos mundos, a Ford se le ha ocurrido una solución móvil para que los todoterrenos no se queden tirados en plena ruta intensiva por lugares remotos. Como decimos, es una solución de emergencia más que algo para un uso diario.

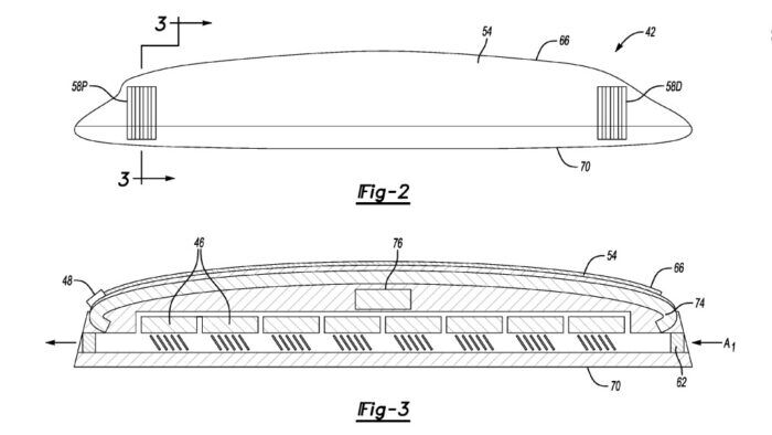
El accesorio consiste en una especie de cofre similar a los portaequipajes de techo, pero formado por una serie de celdas que forman una batería. Se desconocen los detalles, pues apenas se trata de una patente registrada en la United States Patent Application Publication (USPTO). La idea es que esa batería de respaldo sea cargada en el domicilio, montada en el coche para esas ocasiones en las que no se tenga acceso a la recarga y después poder desmontarla con cierta facilidad. No se sabe su capacidad ni tampoco los kilómetros de autonomía extra que podría aportar, pero podría ser una solución interesante.
En la patente se deja claro que tiene unos conductos de aire que favorecer su refrigeración y que también está hecha a prueba de casi cualquier cosa. Tiene un sistema de válvulas que se puede controlar de forma remota y que la cierra para que no entre el agua, la arena o las temperaturas extremas. Aunque lo más interesante es que esta batería secundaria se podría comunicar con la principal del vehículo para optimizar su uso. Tampoco se dice el peso que podría tener un accesorio de estas características, algo que seguro penalizará al modelo de Ford que decida montarlo.
Fuente: USPTO
Noticias relacionadas

Baker Electric: los Tesla de principios de siglo XX que perdieron la batalla a la gasolina

Ford GT90 Concept: quiso romper récords con su motor V12, pero nunca se hizo realidad

Tesla Model Y Premium AWD, a prueba: ¿ha perdido fuelle el que fuera rey de los eléctricos?

El coche eléctrico que puedes reparar tú mismo: una creación tan utópica como funcional
¿Te ha gustado esta prueba?
Subscríbete y no te pierdas las últimas novedades cada semana



