
El nuevo diseño del portón de Mazda soluciona un problema importante
En los coches modernos, encontrarnos con una puerta del maletero con una apertura y cierre automáticos es cada vez más habitual. Es cómodo y facilita aún más la vida sedentaria con tan solo pulsar un botón o pasar el pie por debajo del parachoques, casi cero esfuerzos. ¿Y alguna te ha ocurrido tratado que querías abrir rápidamente el maletero? Solo para quedarte parado como un idiota mientras la puerta motorizada, aparentemente, tarda una década en abrirse.
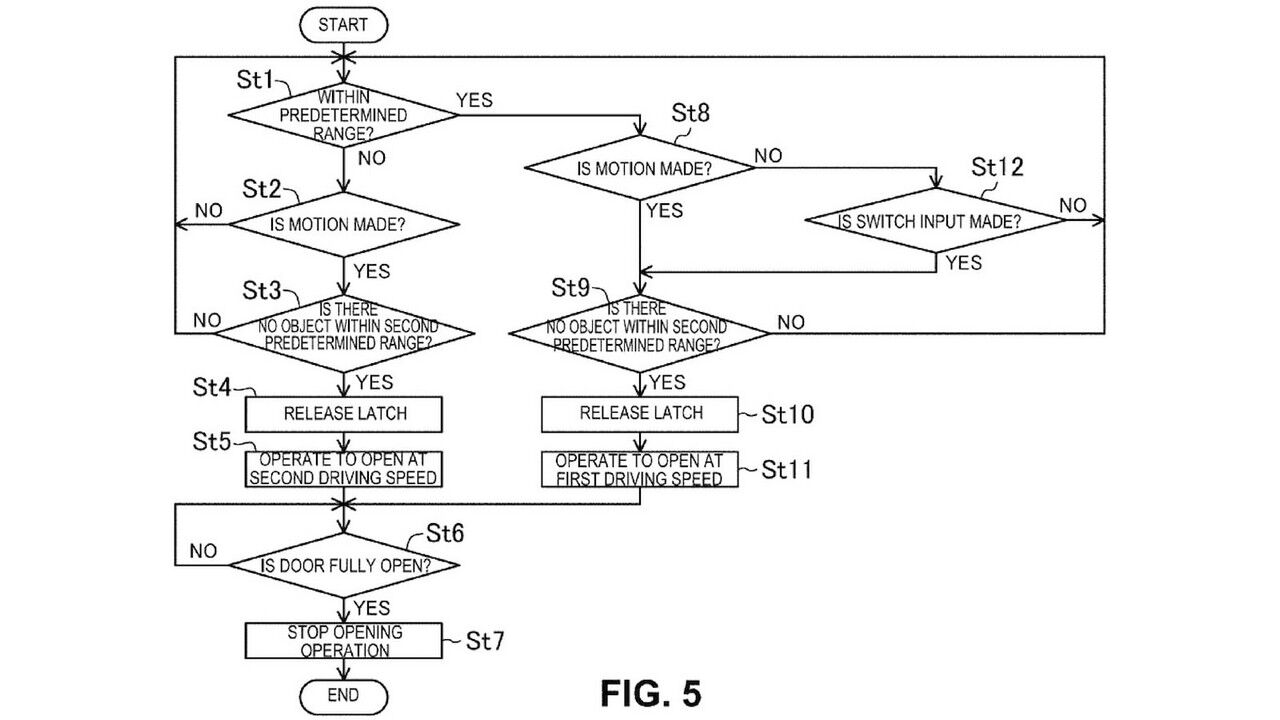
Luego, cuando presionas el botón de cerrar, ya has envejecido otros 10 años. Si te ha pasado, te entendemos. Para aquellos que lo han experimentado, Mazda ha desarrollado una solución en forma de un diseño de puerta del maletero motorizado de dos velocidades. El concepto es simple y la idea es que funcione con entrada “manos libres” en la parte trasera de tu Mazda. CarBuzz descubrió solicitudes de patentes de Mazda ante la USPTO en las que el fabricante de Hiroshima describe un motor de dos velocidades para abrir y cerrar el maletero.

Al detectar la proximidad de la llave al vehículo, el coche decidirá a qué velocidad abre o cierra la puerta trasera. Cuando la llave, presumiblemente en la mano o en el bolsillo del conductor, está dentro de un rango que se considera demasiado cercano, es decir, al deslizar por ejemplo un pie debajo del parachoques, la puerta del maletero se abrirá o se cerrará a un promedio de 300 a 400 milímetros por segundo. Pero si el operador da un paso atrás, el vehículo detectará el cambio de rango y aumentará la velocidad entre 450 y 550 mm por segundo.
Eso es, aproximadamente, un 50 % más rápido que la velocidad de operación estándar. Mazda afirma que esta configuración reduce la probabilidad de “contacto entre el cuerpo de apertura y cierre y el obstáculo” y que “el movimiento hecho por el usuario puede detectarse de forma fiable”. La previsibilidad de esto, o la falta de ella, es, después de todo, una de las frustraciones clave con la tecnología moderna: queremos que algo se comporte como esperamos.

En una era en la que las puertas traseras también se pueden operar de forma remota, Mazda prevé un “medio de captura de imágenes”, probablemente una especie de sensor que podría detectar si una persona, que no tiene la llave en la mano, está demasiado cerca, lo que reduce la velocidad a la que se abre la puerta del maletero. Esto no es diferente al sistema de sensores que Rolls-Royce quiere emplear en sus puertas suicidas en el futuro, y tendría otros beneficios en términos de evitar automáticamente que la puerta suba demasiado si la altura es limitada.
Esto puede parecer un invento trivial, pero es innovación en la forma más Mazda imaginable. Esta es una empresa que ha visto una falla creada por la tecnología moderna y ha encontrado una solución para hacer la vida más fácil. La innovación en su forma más pura es eliminar la complejidad o la incomodidad de la vida de uno, que es precisamente lo que Mazda busca hacer aquí. Al acelerar el tiempo que esperamos a que se abra o cierre la puerta del maletero, Mazda hará que nuestras vidas sean un poco más sencillas, y lo aprobamos.
Fuente: CarBuzz
El nuevo diseño del portón de Mazda soluciona un problema importante. Galería de fotos
Noticias relacionadas

¿Usas la IA para buscar coche? Éste es el ranking de las marcas con más reputación según ChatGPT, Gemini y compañía

Ante el auge de la conectividad en los coches, sale el primer seguro con coberturas en ciberseguridad

Mazda CX-5 e-SkyActiv G: prueba a fondo del SUV diferente, ahora más sensato y maduro

¿Será el próximo Mazda MX-5 aún más ligero que el actual? Esa es la intención…
¿Te ha gustado esta prueba?
Subscríbete y no te pierdas las últimas novedades cada semana














