
Tesla patenta un novedoso limpiaparabrisas electromagnético
El limpiaparabrisas es un elemento de gran importancia que está presente en todos los coches. Cuenta con más de un siglo de historia, pues fue en 1903 cuando Mary Anderson lo inventó y se descubrió su enorme utilidad en los primeros coches. Desde entonces se ha ido evolucionando al sumar sensores capaces de detectar la lluvia y adaptar el funcionamiento de las escobillas. Aunque ahora Tesla quiere revolucionar con el limpiaparabrisas electromagnético, una nueva tecnología que no habíamos visto hasta ahora.
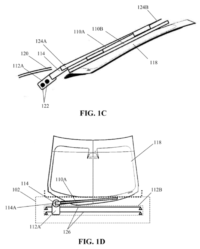
Por el momento solo se trata de una patente que fue registrada en marzo y que se ha publicado recientemente. Estamos acostumbrados a que la mayoría de vehículos cuenten con dos limpiaparabrisas que están formados por sendos brazos que oscilan en un movimiento semicircular y que quedan escondidos en la base del parabrisas, lindando con el capó. Pero se detectan ciertos problemas, como que hay un área del cristal a la que no llegan, que estéticamente no son muy agraciados o que se averían debido al movimiento repetitivo y a sus múltiples partes.

Ante esas cuestiones, lo que trae Tesla y que han bautizado como limpiaparabrisas electromagnético es una solución bastante lógica. Se sigue teniendo un brazo que se moverá por la superficie acristalada para quitar el agua que se quede allí. Sin embargo, ese único brazo no tendría articulaciones, sería totalmente recto y ocuparía todo el parabrisas. Se movería horizontalmente de un lado a otro al ir integrada su base en un carril con un campo electromagnético directamente en el capó.
En este llamativo limpiaparabrisas electromagnético también se podría controlar la velocidad de pasada y promete ser más eficiente que los actuales. Se reduce la fricción y por lo tanto tiene un consumo energético menor, algo de gran importancia precisamente en los eléctricos. Aunque todavía es pronto para saber si este sistema llegará a los Tesla de producción, pues tendría que ser probado y estudiar sus costes de producción. Estaremos pendientes para ver si revoluciona el mundo de los limpiaparabrisas o si se queda en una mera patente.

Fuente: Electrek
Noticias relacionadas

Los Tesla españoles ya pueden incorporar Grok: ¿qué aporta este copiloto en forma de IA?

¿Tiene sentido probar las ADAS con climatología extrema? En China ya lo están haciendo

Las técnicas más utilizadas para el robo de coches en 2026: la tecnología como trampilla

Incluso el diseñador del iPhone lo reconoce: las pantallas táctiles no son lo más adecuado para coches
¿Te ha gustado esta prueba?
Subscríbete y no te pierdas las últimas novedades cada semana



