
De juguete para niños a la próxima gran novedad para el almacenamiento interior del coche
En las patentes descubiertas por CarBuzz, vemos cómo BMW ha adaptado un juguete/novedad decorativa conocida como una pantalla Pin Art 3D en una mejora inteligente para los huecos de almacenamiento de la consola central. BMW, siendo uno de los tres grandes de Alemania y de la industria automotriz en general, siempre está a la vanguardia de la técnica, razón por la que resulta aún más curioso que han adaptado el concepto detrás de un juguete a una característica funcional.
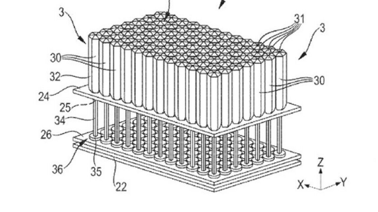
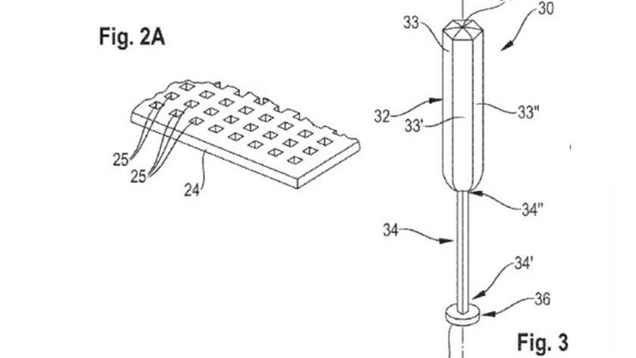
En estos documentos, la idea del fabricante bávaro ve el cubrir el espacio tradicional del interior de un vehículo con “un dispositivo de fijación de objetos adaptable” compuesto por “una placa de guiado y una pluralidad de pasadores que definen una matriz de pasadores”. Lo que hace que esto sea interesante es que las patentes establecen que cada uno de los pasadores presentaría una “porción de extremo magnético en un extremo inferior de la sección de la guía”. Piensa en el magnetismo como una especie de espuma viscoelástica para tus cosas diarias.

La pantalla Pin Art o Pinscreen es un “juguete” ejecutivo patentado en 1987 por Ward Fleming. Si alguna vez has visto uno, sabrás que consiste en una superficie hecha de un conjunto de pines o alfileres que se pueden deslizar libres hacia adentro y hacia afuera de forma independiente en una pantalla para crear un relieve tridimensional. También referidos como pantalla de agujas o de varillas, los modelos originales estaban hechos de alfileres de metal, que eran más pesados y tendían a doblarse fácilmente En este caso, serían de un plástico resistente.
En pocas palabras, este diseño transforma un espacio de almacenamiento de la consola central en un espacio donde las llaves, el móvil, la cartera u otros artículos diversos se mantienen en su lugar por su propia forma y peso, algo así como por el magnetismo de los pines. BMW dice que se le ocurrió esta creación debido al hecho de que las soluciones de almacenamiento existentes, incluso aquellas con alfombrillas de goma antideslizantes, “están compartimentadas por diseño e ingeniería y no ofrecen una adaptación flexible”. Ni tampoco mucho agarre.

En el sistema propuesto por BMW, puedes dejar tu teléfono en la consola central y olvidarte de él, incluso si estás condiciendo con bastante alegría, por ejemplo, un BMW M3. Sin embargo, a pesar de que la premisa suena fabulosa, no podemos evitar pensar en cuánta suciedad quedará atrapada entre los pasadores. Imagina el polvo, la pelusa y la roña variada que se quedaría en la zona con el paso del tiempo… ¿Y cuando esos pasadores comiencen a estar dados de sí? Porque el paso del tiempo no pasa en balde para nadie, y el hueco tradicional ahí tiene ventaja.
Fuente: CarBuzz
De juguete para niños a la próxima gran novedad para el almacenamiento interior del coche. Galería de fotos
Noticias relacionadas

¿Qué podemos esperar de los futuros BMW M? Cuatro motores eléctricos y cambio simulado

BMW 220d Gran Coupé, a prueba: ¿es el Serie 2 una herejía o una genialidad?

Llegó el momento: se instaura BMW Alpina y podría seguir el camino de Mercedes con AMG

Acero verde: cómo reinventar el acero sin contaminar el planeta
¿Te ha gustado esta prueba?
Subscríbete y no te pierdas las últimas novedades cada semana









