
Hyundai combina las cámaras de observación con los faros
Aunque consideremos a los faros delanteros del coche como los ojos de su rostro, en la práctica, las luces no son realmente ojos. Eso es porque, fundamentalmente, los ojos reciben y perciben la luz y las imágenes, mientras que los pilotos proyectan. Sin embargo, Hyundai cree que este no tiene por qué ser el caso al introducir un conjunto de cámaras en los faros que lean las carreteras.
De acuerdo con CarBuzz, quien ha descubierto una solicitud de patente presentada a la Oficina de Patentes y Marcas Registradas de Estados Unidos (UPSTO, por sus siglas en inglés), Hyundai Mobis, la subdivisión tecnológica de la marca surcoreana, ha desarrollado un sistema de luces combinados que funciona tanto como una cámara como un faro. El propósito viene motivado por la conducción autónoma o semiautónoma, donde las cámaras y los radares son los ojos y oídos del coche para que este último actúe en consecuencia.

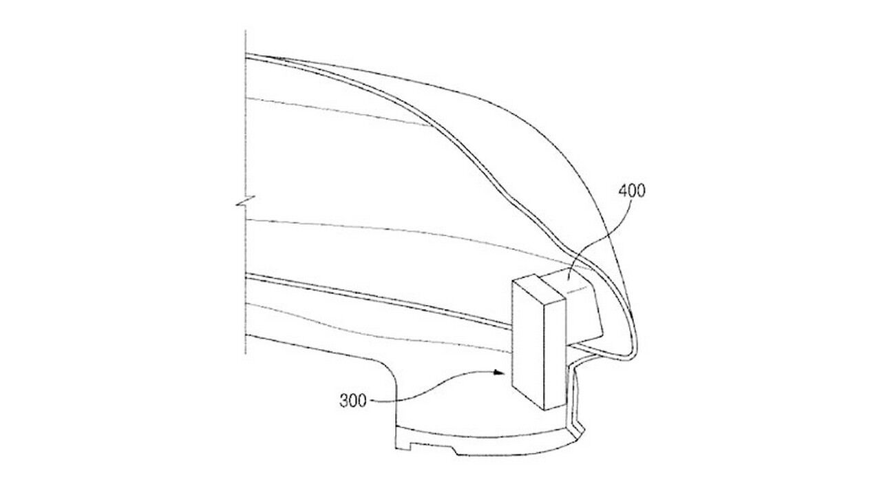
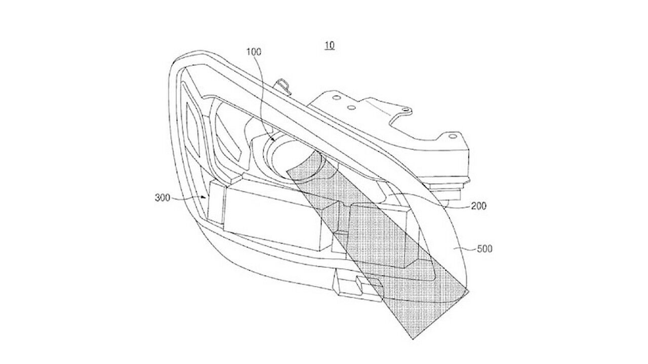
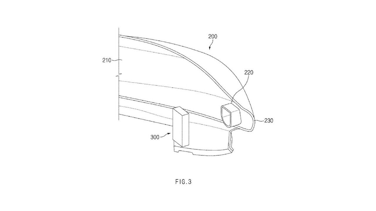
Los sistemas LiDAR, generalmente, están montados en el techo, con el radar montado en la parrilla y las cámaras instalado en el espejo retrovisor central; en el parabrisas. Pero al colocar estas cámaras en los bordes exteriores de un vehículo, la capacidad de triangular y calcular las distancias por medio de trigonometría entre el automóvil y cualquier otro obstáculo aumenta enormemente. En el caso de un modelo como el Hyundai Ioniq 5, la amplia superficie de los grupos ópticos delanteros sería ideal para algo como esto.
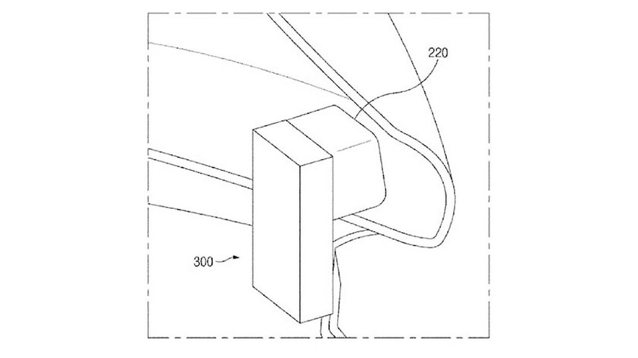
Hyundai ya había presentado la idea de un sistema de cámara montada en un faro antes, pero ahora ha mejorado aún más la tecnología para resolver un problema en el que la emisión de luz crea un deslumbramiento a través de la lente que, posteriormente, distorsiona la visibilidad de la cámara. Por lo tanto, Hyundai ha propuesto un nuevo diseño con un divisor dentro de la carcasa que bloquea completamente la luz que se emite para evitar distorsionar la imagen de la cámara.

Esto incluye algo más que una partición entre dos elementos, sino una partición en la propia lente para evitar que la luz se refracte hacia los lados. Visualmente, solo habría una separación menor entre los dos elementos, pero, en la práctica podría crear un conjunto de luces de doble función que mejore la visibilidad de los sistemas informáticos del vehículo y, al mismo tiempo, crea un nuevo elemento de diseño, ya que los fabricantes de coches podrían crear diseños de firmas lumínicas para ser aún más parecido a un ojo que nunca.
Fuente: CarBuzz
Hyundai combina las cámaras de observación con los faros. Galería de fotos
Noticias relacionadas

¿Usas la IA para buscar coche? Éste es el ranking de las marcas con más reputación según ChatGPT, Gemini y compañía

Ante el auge de la conectividad en los coches, sale el primer seguro con coberturas en ciberseguridad

Hyundai Boulder Concept: la cara más todoterreno de la marca, que inspirará a una pick-up

¿Será el EyeDAR el siguiente paso para avanzar en materia de coches autónomos?
¿Te ha gustado esta prueba?
Subscríbete y no te pierdas las últimas novedades cada semana








