
Nuevas patentes revelan algunos datos del futuro motor rotativo de Mazda
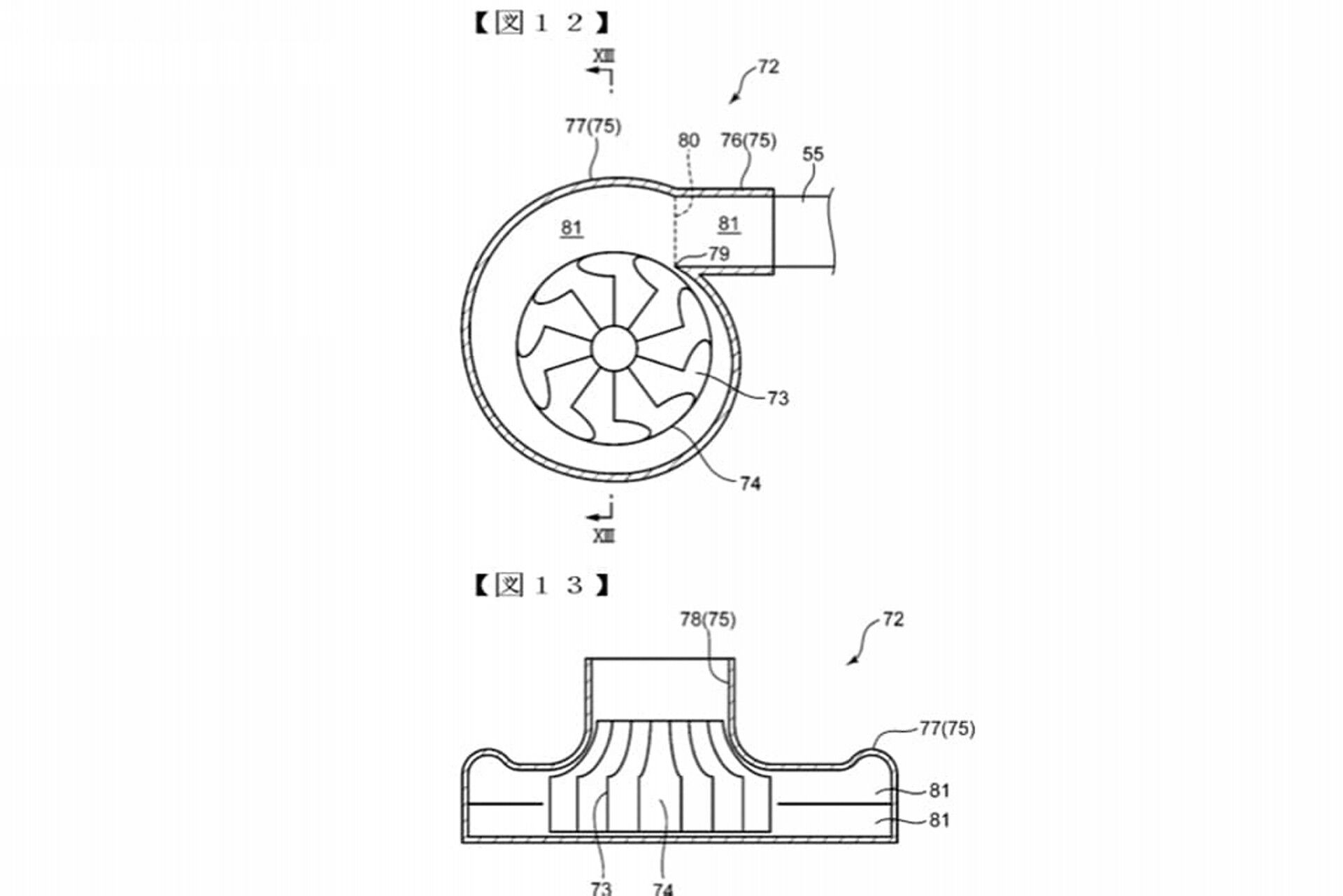
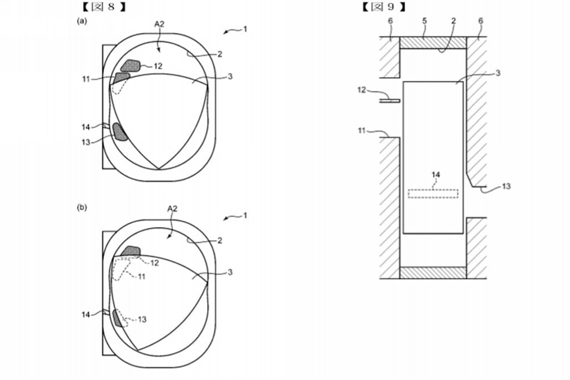
Dos nuevas solicitudes de patentes japonesas muestran lo que parece ser el nuevo motor rotativo de Mazda. Estas patentes parecen indicar que el fabricante nipón ha desarrollado una especie de salida de escape lateral que sirve para crear un efecto de recirculación de gases para mejorar la eficiencia, acompañado de un turbocompresor.
Bajo esta configuración, podemos pensar que el futuro del motor rotativo está destinado no solo a funcionar como un propulsor de extensor de autonomía para coches eléctricos, sino para mover un coche como sistema de alimentación principal. Es decir, una nueva generación de deportivos con motor Wankel, que comenzó con el Mazda Cosmo en 1967 y terminó con el RX-8 en 2012.
Mazda ha sido muy transparente a la hora de expresar su deseo de traer al mercado un nuevo vehículo de corte deportivo con motor rotativo en los últimos años, pero siempre ha defendido que no lo haría hasta que hubiesen desarrollado un motor que cumpliese con sus objetivos de eficiencia. Estas patentes podrían ser el mayor indicativo de que finalmente lo han conseguido, y nosotros no podríamos estar más contentos.

Mazda también describe un método diferente de hacer funcionar el turbocompresor, donde “la fuerza motriz de una turbina puede mejorarse de manera más efectiva”. Esto podría aplicarse a un motor de combustión rotativo o de pistón. La compañía también tiene un método patentado para ambos tipos de centrales eléctricas donde la recirculación de los gases de escape “puede introducirse adecuadamente en cada cilindro”.
Las solicitudes de la patente se presentaron en japonés (por lo que es difícil hacer una transcripción técnica), pero en una traducción cortesía de Garage Alpha se proporcionan más detalles sobre el innovador sistema de propulsión, destacando especialmente el incremento de la eficiencia en comparación con las anteriores implementaciones. Los problemas derivados por el peculiar diseño del bloque lo hacían muy contaminante y difícil de mejorar frente a los motores de pistones tradicionales.
En el documento de más de 30 páginas no se ofrece ningún tipo de detalle acerca de su potencia de salida, su desplazamiento o el techo de vueltas; recordemos que el RX-8 poseía dos rotores de 1.308 cc y 231 CV de potencia máxima, marcando el corte de inyección en 9.500 rpm. Mazda presentó una versión preliminar de un nuevo motor de doble rotor de 1.6 litros en el prototipo 16X de 2007, y es probable que lo veamos en uno de los dos nuevos eléctricos que Mazda lanzará para 2020 (uno de ellos con una batería pura).

Cuando pensábamos que jamás habría un sustito de la familia RX, Mazda nos volvió a dar esperanzas en 2015 con el RX-Vision, el cual se lanzaría, supuestamente, en 2020 (centenario de Mazda). Sin embargo, esta fecha fue frustrada por el jefe de investigación y desarrollo de la marca, Kiyoshi Fujiwara, en octubre de 2017. “No podemos lanzar el RX-Vision al mercado en 2020, porque no tenemos suficiente dinero para invertir y comercializarlo”, dijo.
“Dentro de Mazda, todos tenemos el sueño de ver un día un vehículo propulsado por un motor rotativo. Pero dada la cantidad de cosas que tenemos que hacer, tuvimos que poner esto en un segundo plano, y no tenemos un marco de tiempo”, comentó el CEO de Mazda, Akira Marumoto, a Automotive News Europe recientemente. Aunque aún tarde en llegar, estamos seguros de que volveremos a ver un deportivo con motor Wankel. Enhorabuena por Mazda.
Fuente: Google Patents, Garage Alpha
Nuevas patentes revelan algunos datos del futuro motor rotativo de Mazda. Galería de fotos
Noticias relacionadas

¿Final del motor de tres cilindros de Grupo Volkswagen? El 1.0 TSI podría tener los días contados

¿Será el próximo Mazda MX-5 aún más ligero que el actual? Esa es la intención…

Tras la resaca de los PureTech, Peugeot presenta un nuevo motor de gasolina: el Turbo 100

La increíble historia del Mazda MX-5 con motor V6 que nunca llegó
¿Te ha gustado esta prueba?
Subscríbete y no te pierdas las últimas novedades cada semana






