
Las patentes de Ford muestran un techo extraíble para pick-up
Ford ha presentado una solicitud de patente para un sistema de techo desmontable que podría darles una oportunidad a sus pick-up de competir con el nuevo Jeep Gladiator en el campo de las camionetas descapotables. La experiencia de poder disfrutar a cielo abierto del monte es demasiado atractiva como para no tenerlo en cuenta.
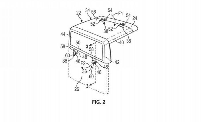
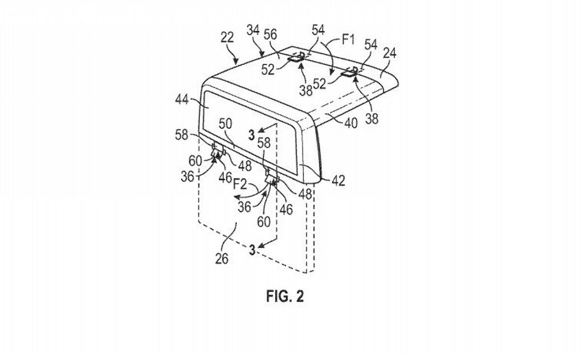
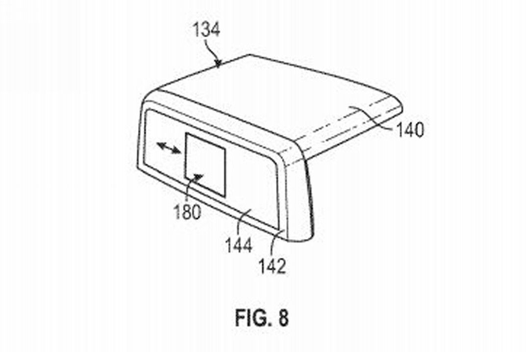
La presentación, localizada por Ford Authority, muestra un simple sistema de techo rígido extraíble con dos clips que sujetan el panel al borde del parabrisas, mientras que otros dos más lo sujetan a la cabina debajo de la línea de la caja. El mecanismo representado está diseñado para ser operado solo desenroscando los cierres sobre el soporte de la luna, lo que haría que el panel trasero se libere de los anclajes en la parte trasera.

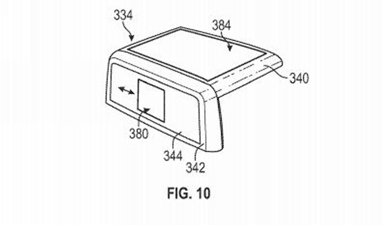
Donde se unen los paneles de la ventanilla de la zaga, se ubicaría el techo sobre una estructura fija (que sería una extensión del habitáculo) en el borde posterior de las puertas traseras representada en los diagramas. Ford dice que esta es solo una implementación potencial, ya que podría diseñarse para acomodar diferentes configuraciones. El techo hipotético podría estar hecho de metal, plástico o compuesto. E incluso podría incluir una ventanilla practicable.
En Estados Unidos se podría implementar esta esta característica en cualquier modelo de la familia “F”, aunque todo parece indicar que podría ser un componente que verá la luz en 2021 junto con el futuro Bronco. Si en Europa se incorporase en el Ranger, por ejemplo, no tendría rival. Dado que Jeep ofrece opciones de techo rígido y techo blando para su icónico todoterreno, no es difícil imaginar que la firma del óvalo azul haga lo mismo.

Y es que resulta que el único modelo actual que incorpora esta opción es el Jeep Wrangler y su derivado el Gladiator. Y eso que en los años 90 los podíamos encontrar algunos todoterrenos descapotables, como el Suzuki Vitara o el Land Rover Freelander en sus primeras generaciones. Pero, como ocurre siempre, la presentación de una patente está muy lejos de los planes de productos concretos. Eso sólo el tiempo dirá.
Ford no proporciona ninguna explicación sobre dónde se puede almacenar el techo, pero no debería de haber mucho problema teniendo en cuenta que las cajas de carga son bastante amplias. Tendremos que ser pacientes para saber si los bocetos muestran una vista previa de una función que veremos en las salas de exposición en los próximos años, o si muestran otro ejercicio de diseño sin futuro.
Fuente: Ford Authority
Las patentes de Ford muestran un techo extraíble para pick-up. Galería de fotos
Noticias relacionadas

Coches M1E: la nueva homologación para coches eléctricos baratos de hasta 4,2 metros

Renault y Ford protagonizan la última alianza en el sector con un objetivo: llenar Europa de eléctricos

CBU, SKD y CKD: qué significan estas siglas en la fabricación de coches (y por qué China lo adora)

El asedio silencioso: los componentes chinos desestabilizan la industria automotriz alemana
¿Te ha gustado esta prueba?
Subscríbete y no te pierdas las últimas novedades cada semana









