
¿Salidas de escape retráctiles? Ford lo planea para mejorar las capacidades off-road
Ford persigue el mercado todoterreno de una manera seria. Por supuesto, ha lanzado el Bronco, que competirá directamente con el Jeep Wrangler. También se han lanzado versiones enfocadas a la vida off-road, como el Explorer Timberline, la F-150 Tremor y, por supuesto, la nueva F-150 Raptor y Ranger Raptor. Sin embargo, según la última patente de Ford, hay un detalle que impide que estos coches alcancen su verdadero potencial y cuya solución estaría en las salidas de escape retráctiles.
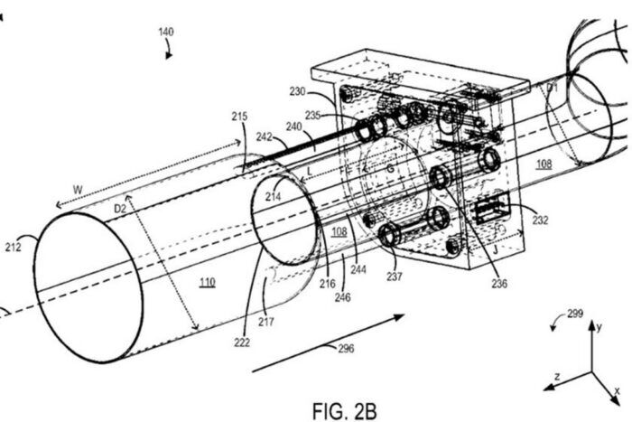
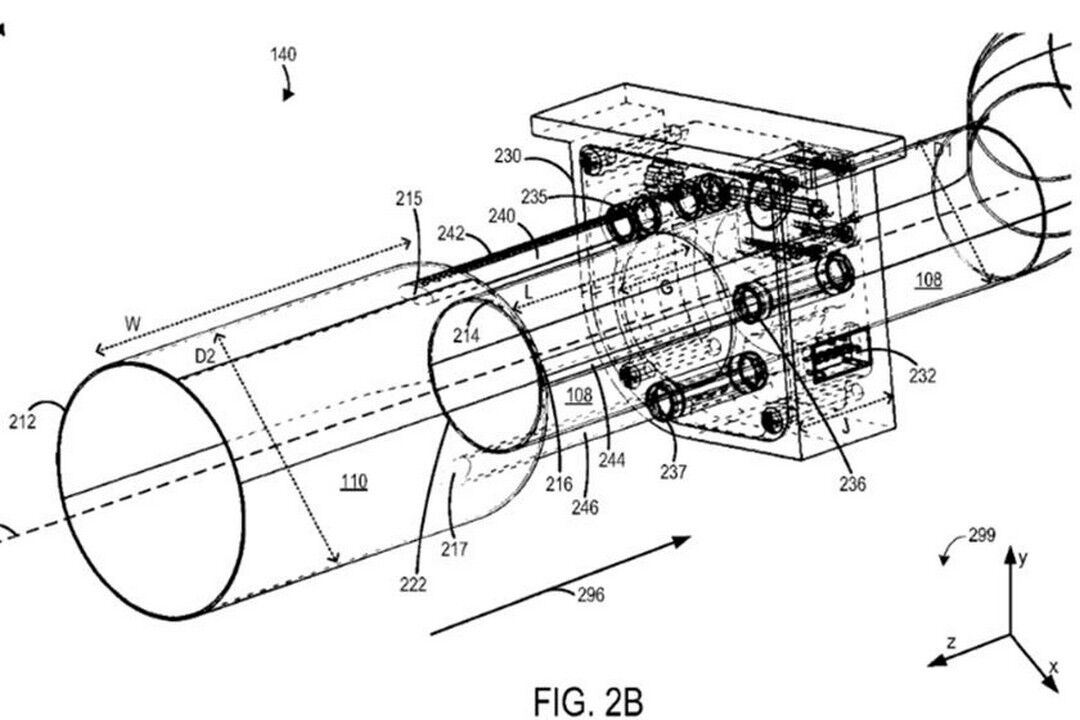
Con una pequeña pero ingeniosa característica el fabricante del óvalo azul pretende mejorar los ángulos de salida de sus vehículos todoterreno. CarBuzz se percató por primera vez de que esta solicitud de patente se presentó en Estados Unidos y Alemania. Describe un sistema a través del cual una salida de escape podría deslizarse sobre sí misma para reducir su longitud. Por lo tanto, podría esconderse debajo del parachoques, que es un factor limitante para los ángulos de salida. Así, puedes hacer off-road sin rozar el escape.

“El ángulo de salida de muchos todoterrenos es mucho menor que su ángulo de aproximación. Esta diferencia entre los ángulos de aproximación y de salida puede causar varios problemas”, escribe Ford en la aplicación. “En un ejemplo, el someter el vehículo a algunos terrenos difíciles, debido a su pequeño ángulo de salida, los tubos de escape del vehículo pueden golpear el suelo causando arañazos, compresión y, potencialmente, la deformación de los tubos de escape. Esto puede causar un impacto negativo”.
Al deslizar las salidas de escape hacia atrás con un mecanismo retráctil, Ford podría mejorar las capacidades todoterreno de sus SUV y camionetas sin rediseñar su trasera. También ayudaría a proteger a los conductores de golpear los tubos de escape de sus todoterrenos. Un conductor podría, posiblemente, operar el sistema simplemente poniendo su vehículo en la modalidad más pertinente para afrontar terrenos no asfaltados, haciendo de esta una de las características que optimizan la conducción fuera de la carretera.

Es cierto que raspar las salidas de escape no es un gran problema ni un gran problema para las personas que disfrutan del pilotaje todoterreno. Pero eso no impide que la firma de Detroit esté buscando una solución novedosa en forma de puntas de escape retráctiles. Archivada en 2020 y publicada a principios de octubre de 2021, Ford otorga a la patente el título “Salidas de escape retráctiles para sistema de escape de vehículos”, y funciona prácticamente como suena. No hay garantía de que algo así progrese más allá de la idea, pero ahí queda.
Fuente: CarBuzz
¿Salidas de escape retráctiles? Ford lo planea para mejorar las capacidades off-road. Galería de fotos
Noticias relacionadas

Así es el modelo americano más rápido en Nürburgring: de edición limitada y con genes de competición

Hyundai Boulder Concept: la cara más todoterreno de la marca, que inspirará a una pick-up

¿Sale ganando el Ford Puma Gen-E con su transformación a eléctrico?

Se cargaron el Fiesta y el Focus, pero ahora Ford vuelve a poner el ojo en Europa con nuevos modelos
¿Te ha gustado esta prueba?
Subscríbete y no te pierdas las últimas novedades cada semana











