
El nuevo airbag que Porsche quiere en sus descapotables
La firma de Stuttgart ha patentado un nuevo airbag situado en el pilar A de sus vehículos descapotables. La idea fue registrada por la marca de Stuttgart el pasado 19 de Octubre en la Oficina de Patentes y Marcas Comerciales de los Estados Unidos, pero no fue hasta el 27 de abril cuando se hizo efectiva.
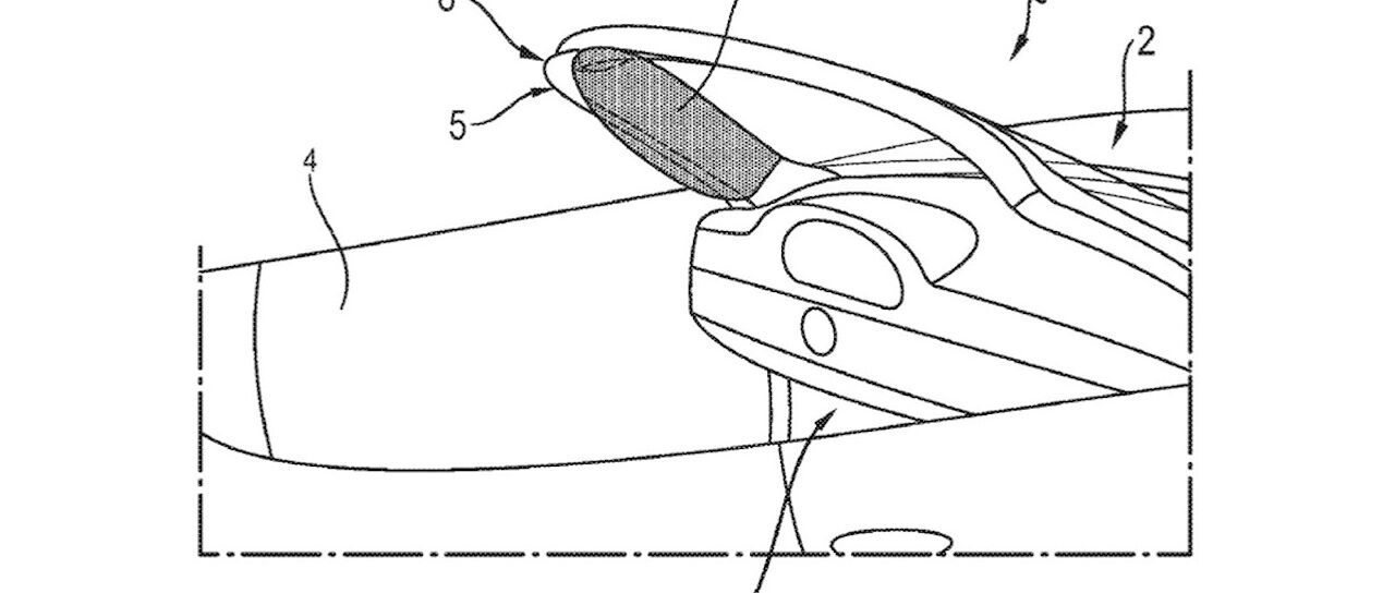
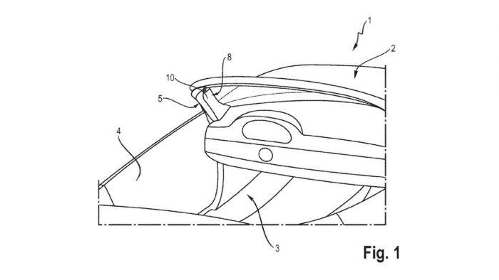
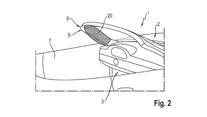
Los vehículos roadster a menudo no son tan seguros como sus equivalentes coupé, por lo que la firma alemana ha decidido desarrollar este sistema de seguridad en modelos descapotables con techo fijo. En caso de colisión o accidente, estos airbags instalados en el pilar A de los vehículos serían un importante dispositivo de seguridad.
Este sistema sería útil para mejorar los resultados en los test de choque a los que se someten todos los vehículos antes de salir al mercado. Porsche ha confirmado que en las pruebas realizadas, este airbag ha sido eficaz en casos de accidente donde el ocupante se mueve hacia adelante y hacia los lados. En las pruebas de colisión frontal o lateral, se ha demostrado que es el airbag lateral el que frena el desplazamiento del maniquí y los riesgos que se asumen se reducirían por completo.



La marca alemana ha especificado que no solamente los vehículos descapotables podrían beneficiarse de los airbags del pilar A, sino que todos los vehículos serían más seguros con sistemas similares.
De momento solo será presentado en EEUU, pero si este sistema de seguridad tiene éxito, no podemos descartar que acabe aterrizando en Europa e incluso en nuestro país.
Fuente: Porsche
Vía: Newspress
Noticias relacionadas

RUF Dakara: el Cayenne con aires de 911 que no estuvo exento de polémica

La historia del tacómetro central de Porsche y por qué se mantiene incluso en digital

Así ayuda la tecnología de la Fórmula 1 de Red Bull a un Porsche 911 refrigerado por aire

Andorra vuelve a sorprender con sus ventas de coches: el Porsche 911 en cabeza y Ferrari al acecho
¿Te ha gustado esta prueba?
Subscríbete y no te pierdas las últimas novedades cada semana



