
Mazda trabaja en un motor de seis cilindros y en una nueva transmisión automática
Mazda siempre ha sido un fabricante que no sigue tendencias, que sigue su propio camino dentro de la industria. Es cierto que ya han sacado su primer eléctrico, el Mazda MX-30, para adaptarse a las normativas y cumplir con la demanda de algunos usuarios. Pero todavía piensan en proyectos diferentes como el del motor rotativo (como extensor de autonomía) o como el motor de seis cilindros y la transmisión automática en la que están trabajando actualmente.
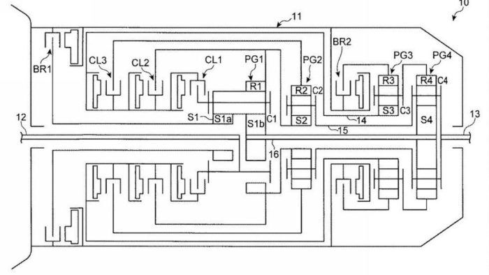
Esa información llega a través de unas patentes que han sido registradas recientemente por la marca japonesa y que muestran datos bastante llamativos. Que un fabricante patente algo no significa obligatoriamente que lo vaya a llevar a producción (a veces caen en el olvido), pero ya muestra cierta intencionalidad. Además, no hay nada descabellado en estos dos elementos mecánicos, pues ya ha habido rumores que los adelantaban anteriormente.

A día de hoy, el motor Skyactiv-X de cuatro cilindros es lo más avanzado que tienen. Aunque de cara a futuro ya se habló de la posibilidad de lanzar una mecánica de gasolina con encendido por compresión de seis cilindros. También se rumoreó acerca de un diésel Skyactiv-D con el mismo esquema de seis cilindros en línea. No se detalla demasiado en la patente, por lo que es pronto para adelantar acontecimientos. Lo que sí parece seguro es que el sistema de escape será mucho más eficiente al presentar una estructura novedosa.
En cuanto a la transmisión automática de ocho velocidades, parece prácticamente lista para su llegada a producción. Podría estar lista para debutar, junto a la nueva mecánica, en la próxima generación del Mazda 6, un producto que genera muchas expectativas. La berlina, que también estará como familiar, introducirá una nueva interpretación del lenguaje de diseño Kodo y una gama mecánica más eficiente. Con la nueva plataforma de tracción trasera podría llegar el bloque de seis cilindros, con opciones microhíbridas y hasta un híbrido enchufable.
Fuente: Super.Asurada.com
Noticias relacionadas

¿Final del motor de tres cilindros de Grupo Volkswagen? El 1.0 TSI podría tener los días contados

¿Será el próximo Mazda MX-5 aún más ligero que el actual? Esa es la intención…

Tras la resaca de los PureTech, Peugeot presenta un nuevo motor de gasolina: el Turbo 100

La increíble historia del Mazda MX-5 con motor V6 que nunca llegó
¿Te ha gustado esta prueba?
Subscríbete y no te pierdas las últimas novedades cada semana



