
¿Un proyector de cine en el maletero? Ford ha patentado algo parecido...
Los fabricantes de automóviles siempre van patentando algunas tecnologías llamativas para que sus rivales no les pisen la idea. En algunos casos llegan a producción y en otros se quedan en el aire, en todo caso, es interesante conocer estos sistemas por lo que podrían aportar. Ahora hemos podido ver que Ford patentó una especie de proyector de cine que iría en el portón del maletero de algún modelo con carrocería estilo SUV o crossover.
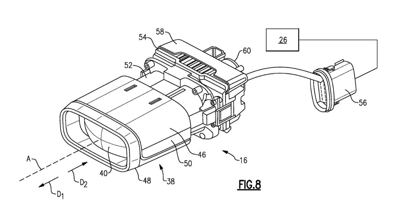
La patente fue registrada en Estados Unidos allá por abril de 2017, por lo que podría aparecer en un futuro no muy lejano si deciden seguir adelante con ella. Para que funcione dicho proyector cinematográfico es necesario que el portón del maletero esté abierto, pues está escondido justo en la base de esa puerta, en la zona donde suele estar el cierre. De esta forma, el sistema queda totalmente protegido de golpes y posibles robos cuando el coche está cerrado.

Según la marca del óvalo, está preparado para proyectar imágenes en una dirección alejada del vehículo, y aparentemente se incluye la superficie donde se verán. Aunque también se podría hacer en cualquier pantalla blanca o sobre alguna pared lisa y clara. Es de esperar que se pueda combinar con el sistema de sonido del vehículo para completar la experiencia. Del mismo modo, se podría utilizar como un foco de luz de alta intensidad para salir de algún apuro.
Todavía no está claro si este proyector de cine de Ford llegará a producción o se quedará como una simple patente. Hay algunas cuestiones alrededor de esta tecnología, como por ejemplo el consumo de energía que tendría que venir ligado a una batería de mayor capacidad o directamente a una auxiliar. En todo caso, sería una tecnología interesante y que aportaría una nueva dimensión de ocio al aire libre, algo que cada vez tiene más demanda.
Fuente: The Drive
¿Un proyector de cine en el maletero? Ford ha patentado algo parecido.... Galería de fotos
Noticias relacionadas

Así es el modelo americano más rápido en Nürburgring: de edición limitada y con genes de competición

¿Sale ganando el Ford Puma Gen-E con su transformación a eléctrico?

Se cargaron el Fiesta y el Focus, pero ahora Ford vuelve a poner el ojo en Europa con nuevos modelos

Ford Puma Gen-E, a prueba: ¿mejor en eléctrico que de combustión?
¿Te ha gustado esta prueba?
Subscríbete y no te pierdas las últimas novedades cada semana








