
A contracorriente: Mazda está desarrollando un motor de dos tiempos sobrealimentado
Nos encanta un buen motor excéntrico, y Mazda ciertamente es experta en el tema. Es por eso por el que el fabricante japonés está desarrollando un propulsor de dos tiempos en una era en la que el motor de combustión está condenado. Además, se supone que los motores de cuatro tiempos se encargaron de sustituir a los de dos, precisamente, por este motivo. Pero es Mazda y siempre es capaz de sorprendernos, o más bien la patente descubierta por CarBuzz.
El escrito describe un motor de dos tiempos sobrealimentado por compresor volumétrico que aumenta el grado de opera mediante encendido por compresión (como un diésel) bajo cargas bajas y por encendido por chispa durante cargas altas. Si esa última parte te suena familiar, es porque Mazda la emplea en su motor Skyactiv-X. Ahora bien, tal vez la financiación de algunos departamentos de investigación y desarrollo de Mazda esté determinada por la presentación de patentes, y esto es solo un caso de cubrir una base potencial lejana.

Para contextualizar, recordemos que los pistones en la mayoría de motores tienen que subir y bajar dos veces para generar energía en un proceso de admisión, compresión, combustión y escape. En un motor de dos tiempos, todo eso tiene que suceder en un solo movimiento hacia arriba y hacia abajo del pistón. Los más conocidos tienen puertos en el costado del cilindro en lugar de válvulas tradicionales, y usan ambos lados del pistón para mover el aire.
En la carrera ascendente, la parte inferior del pistón aspira aire y combustible (y aceite) hacia el cárter. A medida que el pistón desciende, presuriza el aire y le obliga a ingresar a la cámara de combustión cuando el puerto de admisión (orificio en el costado del cilindro) está expuesto. A medida que el pistón sube, cierra esos puertos, comprime el aire y combustible, se enciende con una bujía y empuja el pistón hacia abajo. Obviamente, todo ese humo azul es tóxico para el medio ambiente, por lo que el futuro de este diseño es muy sombrío.

Sin embargo, un tipo llamado Ralph Sarich obtuvo la patente #US5150836 en 1992, que cubría un sistema de inyección de combustible que mezclaba el combustible y el aire comprimido que mejoraba y aceleraba tanto la mezcla como la atomización del aire y combustible, sin el humo azul causado por quemar el aceite. Si bien esta tecnología no ha sido particularmente popular en el sector automotriz, sí que es lo suficientemente limpia para aplicaciones marinas, por lo que la mayoría de los motores de botes emplean sistemas similares de inyección directa.
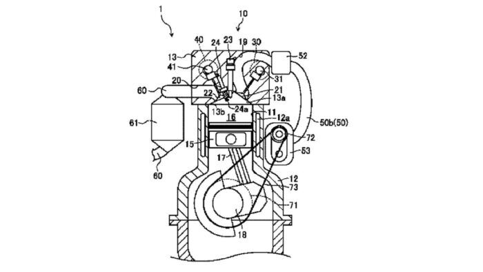
Eso nos lleva a la patente de Mazda, quien describe un motor sobrealimentado de número de cilindros desconocido que presenta un diseño de culata con válvulas de admisión y escape en un ángulo de casi 90 grados. Las válvulas de admisión están muy cerca del centro superior del cilindro en un ángulo mucho mayor desde la vertical, mientras que las de escape parecen más centradas en su lado del cilindro, inclinadas en un ángulo más estrecho. Forzando la entrada de aire con la sobrealimentación, los gases de escape salen en una posición casi horizontal.

El inyector de combustible (solo uno) y la bujía aparecen, aproximadamente, centrados cerca de la parte superior de la cámara de combustión. La clave de este concepto es la estrategia de sincronización variable de válvulas, porque en un motor de dos tiempos, solo se consigue el trabajo de compresión o escape cuando todas las válvulas estén cerradas. El escape siempre se abre unos 10 grados de rotación en el cigüeñal antes que la admisión, y siempre se cierran a la vez. Pero al cambiar estos tiempos de apertura y cierre, Mazda puede obtener 120 grados de compresión y 100 grados de expansión, o viceversa.
La patente dice que este motor sobrealimentado de dos tiempos ha mejorado la economía de combustible, pero no menciona con qué diseño está comparando ese aumento. Las emisiones de escape más altas son generalmente la principal debilidad de los motores de dos tiempos, y la documentación no indica si este diseño ofrece alguna ventaja para ese problema. Patentes como estas, a menudo, equivalen a cualquier cosa, pero a pesar de todo, estamos intrigados. Y un poco confundidos de qué tipo de aplicación se le puede dar en este futuro electrificado.
Fuente: CarBuzz
Noticias relacionadas

Origen y evolución del mítico motor de cinco cilindros de Audi

He viajado con el Mazda 6e para descubrir que su versión más interesante no es la protagonista de este vídeo

Así es la tecnología de Mazda que captura las emisiones de CO2 durante la marcha

¿Qué marcas de coches son las que más pasan por el taller?
¿Te ha gustado esta prueba?
Subscríbete y no te pierdas las últimas novedades cada semana



